
Offene Arbeitsgruben stellen in vielen Werkstätten ein erhebliches Sicherheitsrisiko dar. Mit den maßgefertigten Grubenabdeckungen von Altec lassen sich solche Gefahren zuverlässig beseitigen – schnell, sicher und dauerhaft.
Die Abdeckungen werden individuell nach Kundenvorgabe aus hochwertigem, robustem Aluminium gefertigt. Das Material ist unempfindlich, langlebig und überzeugt durch eine saubere, professionelle Optik.
Je nach Ausführung sind die Elemente begeh- und befahrbar und verwandeln ungenutzte Grubenbereiche im Handumdrehen in sichere, belastbare Arbeitsflächen. Bei Bedarf können die Segmente ebenso schnell wieder entfernt werden – für maximale Flexibilität im Werkstattalltag.
Damit jede Grubenabdeckung exakt passt, benötigt Altec bei der Bestellung präzise Angaben zur Grube:
Länge und Breite bzw. Abstand der seitlichen Begrenzungen (Mauerbreite)
Material der Grube
gewünschte Tragfähigkeit der Abdeckung
Da die Abdeckungen meist aus mehreren Einzelsegmenten bestehen, lassen sie sich passgenau auf die örtlichen Gegebenheiten abstimmen.
Die Altec-Spezialisten planen und fertigen jede Lösung professionell, sicher und nach höchsten Qualitätsstandards – für mehr Sicherheit und Effizienz in der Werkstatt.
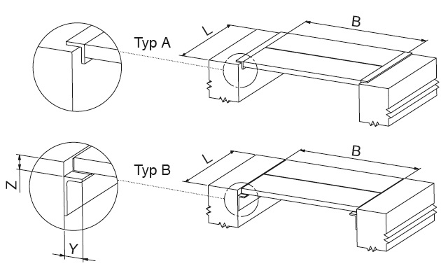
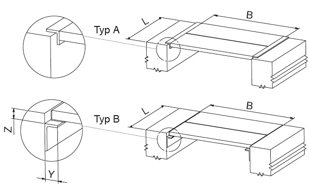
Jede Grube hat andere Abmessungen und muss unterschiedliche Anforderungen erfüllen.
Wichtig für die Fertigung sind deshalb die entsprechenden Informationen zu:
Länge und Breite der gesamten Grube in mm (exaktes lichtes Maß ohne Spiel)
gewünschte Traglast (Radlast)
Auflagervariante (Typ A oder B)
die Abmessungen von Z und Y (gilt nur für Typ B)
Die Anzahl der einzelnen Abdeckungselemente ergibt sich aus der Größe der Grube.
